“A Graphical Programming System with Speech Input” by Neroth
Conference:
Type(s):
Title:
- A Graphical Programming System with Speech Input
Session/Category Title:
- Interactive Input Techniques
Presenter(s)/Author(s):
Moderator(s):
Abstract:
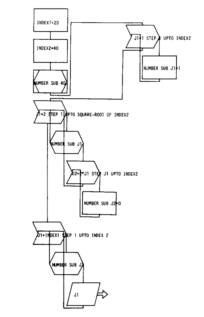
An interactive programming system is described where human speech commands and computer graphic input-output facilities are used for the exchange of information between man and machine. The experimental problem solving environment is one of formulating, specifying, debugging and executing (algebraic) procedures interactively on a small processor. The speech recognition system is a real time, syntax directed, limited vocabulary, highly cost effective scheme specifically tailored to this environment. The data transformation operations of the language are verbally specified and the control flow is specified graphically as a two dimensional directed graph. The semantics of the latter structure is independent of the time sequence of its input. An input restricted (conditional input) pseudo-finite state machine model is used for the continuous syntax checking of the input on an atomic token basis and for directing the speech recognizer. The system has been successfully implemented on a small processor at the University of California, Berkeley.


